การ:บรรณาธิการเว็บไซต์ เผยแพร่: 2569-04-23 ที่มา:เว็บไซต์
การออกแบบหน้าแปลนล้อรถไฟและโปรไฟล์ดอกยางมีบทบาทสำคัญในการรับประกันการปฏิบัติงานของรถไฟที่ปลอดภัยและมีประสิทธิภาพ รูปทรงหน้าสัมผัสระหว่างล้อและรางที่เข้ากันได้ดีไม่เพียงแต่ช่วยลดการสึกหรอและความเครียดเท่านั้น แต่ยังปรับปรุงความเสถียรในการวิ่งโดยรวมและประสิทธิภาพการต่อรองทางโค้งอีกด้วย
เมื่อออกแบบโปรไฟล์ดอกยางของล้อ จำเป็นอย่างยิ่งที่จะต้องแน่ใจว่าเข้ากันได้อย่างเหมาะสมกับรูปร่างของหัวราง ส่วนต่อประสานระหว่างล้อและรางในอุดมคติสามารถลดความเครียดจากการสัมผัสและลดการสึกหรอได้อย่างมีประสิทธิภาพ ซึ่งมีส่วนโดยตรงต่อ:
· ปรับปรุงประสิทธิภาพเมื่อผ่านโค้ง
· ลดความถี่ในการบำรุงรักษาและต้นทุน
· เพิ่มความเร็ววิกฤตเพื่อความเสถียรของรถไฟ
นอกจากนี้ โปรไฟล์ดอกยางที่ออกแบบใหม่ควรจะตรงกับโปรไฟล์ที่สึกหรอในสภาพการใช้งานจริง ซึ่งจะช่วยลดปริมาณการขจัดโลหะในระหว่างการสร้างโปรไฟล์ใหม่ ซึ่งจะช่วยยืดอายุการใช้งานของล้อและลดค่าใช้จ่ายในการบำรุงรักษา

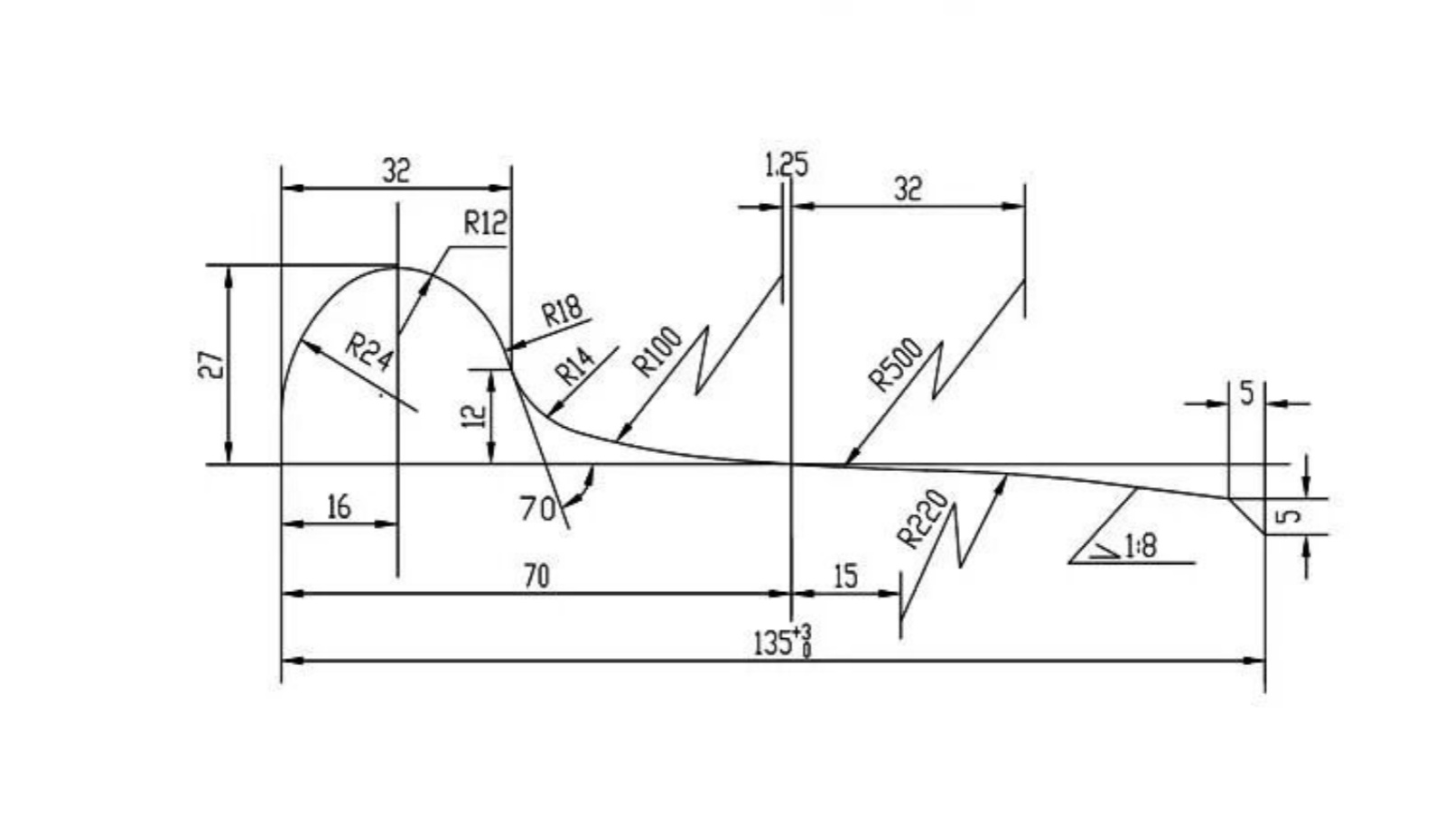
หน้าแปลนเป็นคุณลักษณะด้านความปลอดภัยที่สำคัญซึ่งป้องกันการตกราง ความสูงและรูปทรงของมันจะต้องได้รับการควบคุมอย่างระมัดระวัง:
· ความสูงของหน้าแปลน: โดยทั่วไปจะอยู่ระหว่าง 26 มม. ถึง 30 มม.
· ต่ำเกินไป: เพิ่มความเสี่ยงต่อการตกราง
· สูงเกินไป: อาจเกิดการรบกวนกับส่วนประกอบของราง เช่น โบลท์หรือไหล่จานปลา โดยเฉพาะอย่างยิ่งเมื่อดอกยางสึกหรออย่างมีนัยสำคัญ
เพื่อความปลอดภัยในการผ่านเข้าโค้ง โดยทั่วไปล้อที่มีเส้นผ่านศูนย์กลางเล็กกว่าจะต้องมีความสูงหน้าแปลนสูงกว่า
มุมหน้าแปลนก็มีความสำคัญเช่นกัน พื้นผิวด้านนอกของหน้าแปลนต้องรักษามุมที่เหมาะสมกับระนาบแนวนอน:
· มุมเล็กเกินไป: มีความเสี่ยงสูงที่ล้อจะปีนขึ้น (ตกรางที่ความเร็วต่ำ)
· มุมใหญ่เกินไป: เพิ่มการกำจัดการตัดเฉือนในระหว่างการสร้างโปรไฟล์ใหม่และอาจทำให้เกิดการสัมผัสกันระหว่างด้านบนของหน้าแปลนและรางภายใต้สภาวะมุมโจมตี

ลักษณะของดอกยางจะขึ้นอยู่กับสภาพของสนามแข่งและความเร็วการทำงานของรถไฟเป็นหลัก มากกว่าการออกแบบโครงสร้างของล้อ เมื่อไม่มีการเปลี่ยนแปลงที่สำคัญในโครงสร้างพื้นฐานของสนามแข่งหรือความเร็วในการทำงาน โดยทั่วไปแล้วโปรไฟล์ดอกยางจะยังคงไม่เปลี่ยนแปลง แม้ว่าโครงสร้างล้อจะได้รับการแก้ไขก็ตาม
ในกรณีส่วนใหญ่ โปรไฟล์ดอกยางที่ได้มาตรฐานจะถูกนำมาใช้เพื่อให้มั่นใจถึงความเข้ากันได้และความน่าเชื่อถือทั่วทั้งระบบรางรถไฟ
การออกแบบหน้าแปลนล้อรถไฟและโปรไฟล์ดอกยางเป็นส่วนสำคัญของความปลอดภัยและประสิทธิภาพของรถไฟ ด้วยการเพิ่มประสิทธิภาพปฏิสัมพันธ์ระหว่างล้อและราง การควบคุมขนาดหน้าแปลน และการออกแบบดอกยางให้สอดคล้องกับสภาพการใช้งานจริง ผู้ปฏิบัติงานระบบรางรถไฟสามารถเพิ่มประสิทธิภาพการดำเนินงาน ลดการสึกหรอ และปรับปรุงความปลอดภัยโดยรวมได้อย่างมาก